System for detecting and displaying the braking readiness of a motor vehicle in road traffic
Abstract
With the invention presented here, rear-end collisions in road traffic can be prevented in a simple and efficient way. By making a vehicle's readiness to brake visible to the following drivers (before the actual braking maneuver) the number of tragic personal injuries and costly vehicle damage can be avoided in the future.background
Up to now, drivers of motor vehicles can only recognize that the cars in front of them are actively braking and reducing speed by the illumination of their brake lights. Depending on the speed and intensity of the braking maneuver, this often comes down to fractions of a second in order to avoid rear-end collisions.
Existing systems, such as the adaptive brake light, which signals emergency braking, or driver assistance systems (e.g., distance assist), are not able to communicate a vehicle’s braking readiness to following traffic through optical signals.
The invention presented here addresses exactly this issue and provides following drivers with valuable additional reaction time by signaling the driver’s braking readiness (foot off the accelerator, hovering over the brake pedal) through existing, standard lighting technology (third brake light). In this way, rear-end collisions in road traffic can be reduced.
Innovation / Solution
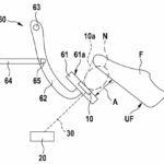
The new technical solution proposes the use of sensors (e.g., ultrasonic proximity sensor or light barrier) to detect whether the driver’s foot is located in the vicinity of the brake pedal. For example, a sensor may be integrated into the brake pedal itself. The concept for detecting braking readiness is shown in Figure 1. The sensor signals are to be evaluated by a control unit. During driving, it should be checked to what extent the driver is prepared to initiate a braking maneuver. The determined braking readiness should be indicated to following drivers by illuminating the third brake light (e.g., rear window, top). Optionally, similar to the third brake light, not only braking readiness but also braking intensity or a warning message in words, such as “WARNING: BRAKING READINESS”, can be displayed. By providing information about the braking readiness of preceding vehicles, road traffic safety can be increased. Hazardous situations can be detected earlier, and counter-measures – especially early braking – can be initiated in time. The technical concept of the invention is illustrated in the following Figure 2.Benefits
You can close this window. You can find your search results in the previous window



