System zum Erfassen und Anzeigen der Bremsbereitschaft eines Kraftfahrzeugs im Straßenverkehr
Einleitung / Abstract
Mit der vorgestellten Erfindung eines ebenso simplen wie effizienten Systems, können Auffahrunfälle im Straßenverkehr rechtzeitig verhindert werden. Indem bereits schon die Bremsbereitschaft (vor dem eigentlichen Bremsvorgang) eines Fahrzeugs für die nachfolgenden Verkehrsteilnehmer:innen sichtbar gemacht wird, lässt sich die Zahl von tragischen Personen- und kostspieligen Blechschäden künftig vermeiden.Hintergrund
Bisher können die Fahrer:innen von Kraftfahrzeugen nur durch das Aufleuchten der Bremslichter der vorausfahrenden PKWs erkennen, dass diese aktiv bremsen und ihr Tempo drosseln. Je nach Geschwindigkeit und Stärke des Bremsvorgangs, geht es dabei aber oft um den Bruchteil von Sekunden, um Auffahrunfälle in der Folge zu vermeiden. Bisherige Systeme wie z.B. das adaptive Bremslicht, das eine Vollbremsung anzeigt, oder Assistenten (u.a. Abstandsassistent) können die Bremsbereitschaft von Kraftfahrzeugen durch optische Signale dem nachfolgenden Verkehr nicht mitteilen.
Die hier vorgestellte Erfindung setzt genau da an und liefert den nachfolgenden Fahrer:innen wertvolle, zusätzliche Reaktionszeit, indem die Bremsbereitschaft der Fahrer:innen (Fuß vom Gas-, vors Bremspedal) durch die vorhandene, gängige Lichttechnik signalisiert wird (dritte Bremsleuchte). Auf diese Weise können Auffahrunfälle im Straßenverkehr reduziert werden.
Lösung
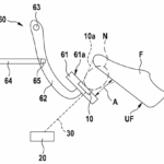
Die neue technische Lösung sieht vor, Sensoren (z.B. Ultraschall-Näherungssensor oder Lichtschranke) zu nutzen, die erfassen, ob sich der Fuß der Fahrer:innen im Nahbereich des Bremspedals befindet. Ein Sensor kann beispielsweise in das Bremspedal integriert werden. Das Konzept zum Erfassen der Bremsbereitschaft ist in Abbildung 1 dargestellt. Die Sensorsignale sollen durch eine Steuerungseinheit ausgewertet werden. Es soll während der Fahrt geprüft werden, inwiefern der Fahrer vorbereitet ist, einen Bremsvorgang vorzunehmen. Die ermittelte Bremsbereitschaft soll durch Aufleuchten des dritten Bremslichtes (z.B. Heckscheibe, oben) den nachfolgenden Verkehrsteilnehmer:innen zur Orientierung dienen. Optional kann wie bei der dritten Bremsleuchte neben der Bremsbereitschaft auch die Bremsintensität oder ein Warnhinweis in Worten, bspw. „ACHTUNG BREMS-BEREITSCHAFT“, ausgegeben werden. Durch die Kenntnis der Bremsbereitschaft von vorausfahrenden Fahrzeugen kann die Sicherheit im Straßenverkehr erhöht werden. Gefahrensituationen werden früher erkannt und Gegenreaktionen – insbesondere ein frühzeitiges Ab-bremsen – rechtzeitig eingeleitet. Das technische Konzept der Erfindung wird in der folgenden Abbildung 2 versinnbildlicht.Vorteile
Sie können dieses Fenster schließen. Ihre Suchergebnisse finden Sie in dem vorherigen Fenster



